精益智能工厂 一站式系统化解决方案引领计算机系统服务新纪元
更新时间:2026-04-14 06:31:23
计算机软件基础知识与计算机系统服务概述
更新时间:2026-04-14 08:44:51
计算机系统服务基石 从硬件组成到操作系统进程
更新时间:2026-04-14 00:56:15
ASP.NET与SQL Server架构下的恒信旅游客户服务管理信息系统设计与实现
更新时间:2026-04-14 12:27:08
精品SpringCloud商品服务系统 疫情背景下微服务分布式购物商城的构建与设计
更新时间:2026-04-14 21:06:44
从计算机体系结构到系统服务 存储系统的关键角色与演进
更新时间:2026-04-14 05:45:00
江门企业网络管理软件专家——南京网亚计算机有限公司
更新时间:2026-04-14 11:31:15
聊城定量控制系统选型指南 谁家好、价格、质量与厂家全解析
更新时间:2026-04-14 10:08:23
基于ssm vue学习用品采购系统 计算机毕业设计
更新时间:2026-04-14 07:44:08
计算机系统服务 数字时代的隐形支柱
更新时间:2026-04-14 18:54:16
汽修厂管理系统 驱动汽车后市场数字化升级的科技引擎
更新时间:2026-04-14 11:07:04
领途无锡工厂迎数字化转型新里程碑 A1 MES与A1 SRM系统成功上线试运行
更新时间:2026-04-14 18:23:19
电站计算机监控系统网络拓扑研究与应用服务解析
更新时间:2026-04-14 18:47:59
农产品销售系统 设计、实现与计算机系统服务集成
更新时间:2026-04-14 20:29:43
宏达擦鞋修鞋管理系统 免费官方下载与计算机系统服务指南
更新时间:2026-04-14 17:10:30
基于Spring Boot的爱心捐赠系统设计与实现——计算机系统服务视角
更新时间:2026-04-14 21:04:57
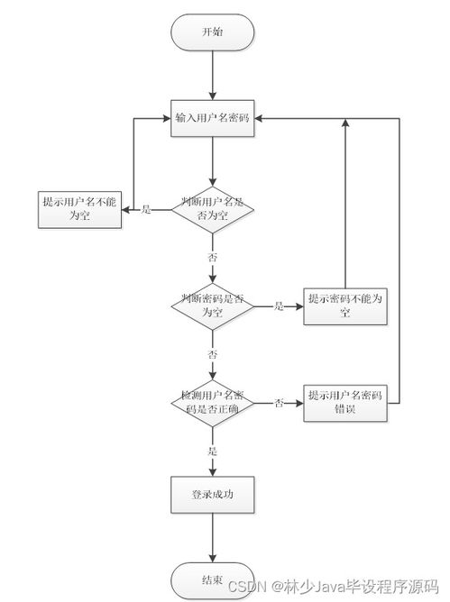
基于SpringBoot与Vue的计算机专业课在线自评自测系统设计与实现
更新时间:2026-04-14 04:08:21
构建智慧水脉 污水处理厂远程监控系统解决方案
更新时间:2026-04-14 04:10:05
软件设计模式与体系结构 工厂模式在计算机系统服务中的应用
更新时间:2026-04-14 15:57:04
智慧工厂MES系统解决方案 计算机系统服务赋能制造升级
更新时间:2026-04-14 11:26:32
公司简介: 杭州顺网科技股份有限公司(代码300113)成立于2005年,是国内领先的互联网科技公司,业务遍及全国所有省份370多个城市及韩国、越南、泰国、马来西亚等多个国家,每年为逾1.4亿网民提供优质产品及服务。以产品和技术为驱动,公司始终致力于以数字化服务为人们创造沉浸式的全场景体验。秉承“科技连接快乐”的企业使命,顺网科技基于全球领先的串流、多终端管理技术,以及丰富的场景化服务经验,形成了本地服务、云服务及元宇宙服务,持续向用户提供先进的产品及技术解决方案,帮助企业客户实现业务创新,帮助互联网用户全面提升数字体验,是泛产业走向数字化的重要连接者及推动者。本地服务是公司核心。顺网科技作为行业龙头企业,为本地场景中“多场景-多终端-多并发-多用户”的四多应用场景提供了行业领先的软件服务,覆盖8万余家上网服务场所及过亿用户。基于对本地场景的大范围覆盖,为全球合作伙伴提供了千人千面的精准营销服务,是公共上网场景下最为强大及成熟的本地服务之一。云服务(即:顺网雲)是公司倾力打造的边缘云服务。面向各行业合作伙伴,提供领先的边缘云计算产品服务及多场景的行业解决方案。基于“顺网lnside”理念,顺网对外共享领先技术,将顺网的优势技术内置到更多合作伙伴的产品中,通过被集成,实现核心技术的互联网化和应用的数据化、智能化,从而推动产业数字化建设,助力各行各业实现数字化升级。
公司简介一般项目:软件开发;技术服务、技术开发、技术咨询、技术交流、技术转让、技术推广;信息系统集成服务;计算机系统服务;广告设计、代理;广告制作;广告发布;网络设备销售;通信设备销售;电子元器件零售;计算机软硬件及辅助设备零售(除依法须经批准的项目外,凭营业执照依法自主开展经营活动)。许可项目:第一类增值电信业务;第二类增值电信业务;网络文化经营(依法须经批准的项目,经相关部门批准后方可开展经营活动,具体经营项目以审批结果为准)。
法人代表:华勇
注册地址:杭州市西湖区文一西路75号3号楼
所属行业:互联网和相关服务
更多行业:互联网其他信息服务,互联网信息服务,互联网和相关服务,信息传输、软件和信息技术服务业